Úvodní stránkaProdukteBezpečnostní spínače s kódovanými transpondéry a jištěním ochranného krytuCTPCTP-ARCTP-L1-AR-U-HA-AZE-SH-137341
Bezpečnostní spínač s kódovaným transpondérem CTP-AR, M23, 2× tlačítko (extended)
- Bezpečnostní spínače s jištěním ochranného krytu a integrovanou vyhodnocovací elektronikou
- Až 20 sériově řazených spínačů
- Monitorování příčného zkratu
- 2× bezpečnostní výstup (polovodičový)
- Do kategorie 4 / úrovně vlastností PL „e“ podle normy EN ISO 13849-1
- 2× tlačítko (prosvětlené)
- S konektorem M23
- Unicode
- Signalizační výstup polohy dveří
- Směr nájezdu A, B a C (stav při dodání)

Popis
Vyhodnocování typu Unicode
Každý aktuátor má vysokou úroveň kódování (Unicode). Spínač detekuje pouze naučené aktuátory. Je možné naučit další aktuátory. Jednotka rozpozná vždy pouze aktuátor, který byl naučen jako poslední.
Způsob jištění ochranného krytu
CTP‑L1 | Jištění ochranného krytu aktivováno silou pružiny a odjišťováno zapnutím energie (princip klidového proudu). |
Sada barevných clonek
Barvu tlačítek můžete sami zvolit pomocí přiložené sady barevných clonek (5 barev). Obj. č.: 120344 (viz příslušenství)
Obsazení konektoru
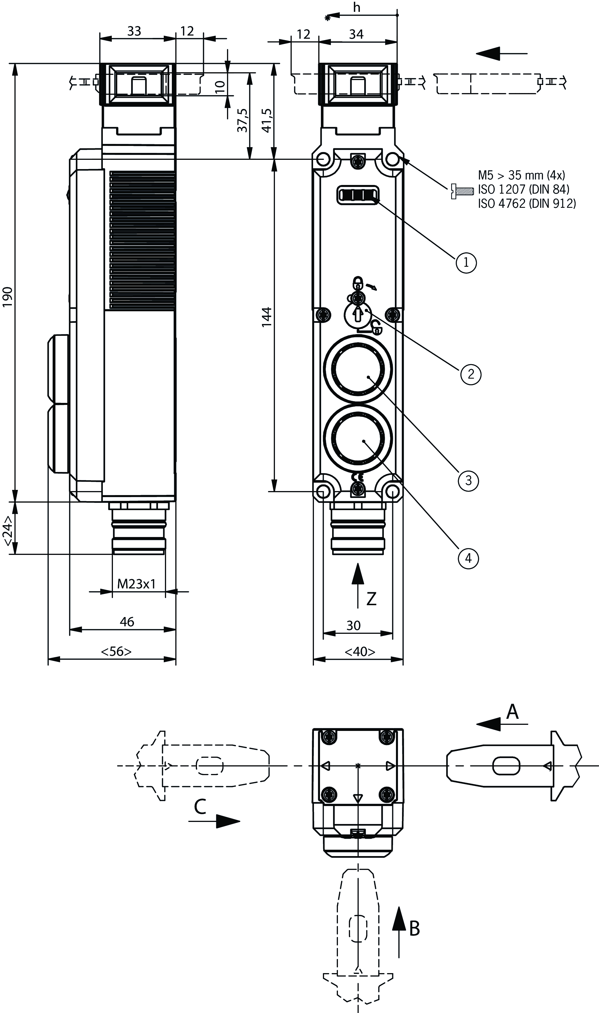
Rozměrové výkresy

| 1 | LED diody |
| 2 | Pomocný odjišťovací prvek |
| 3 | Tlačítko (prosvětlené) |
| 4 | Tlačítko (prosvětlené) |
Příklady připojení

Technické údaje
Schválení



Pracovní prostor
| Opakovatelná přesnost R | 10 % |
Ovládací a zobrazovací prvky
| Poloha | Barva | Doplňky | Provedení | Vkládací štítek | Vkládací štítek | Spínací jednotka | Počet | Označení1 | LED |
|---|---|---|---|---|---|---|---|---|---|
| 2 | Prosvětlené tlačítko | 1× spínací kontakt | |||||||
| 3 | Prosvětlené tlačítko | 1× spínací kontakt |
Hodnoty elektrického připojení
| Zajištění | |
| Externí (napájecí napětí UB) | 0.25 ... 8 A |
| Externí (napájecí napětí elektromagnetu IMP) | 0.5 ... 8 A |
| Příkon | 6 W |
| Návrhové izolační napětí Ui | 50 V |
| Jmenovité impulzní napětí Uimp | 0.5 kV |
| Napájecí napětí DC | |
| UUB | 24 V DC -15% ... +15% zabezpečeno proti přepólování, regulováno, zbytkové zvlnění<5 %, PELV |
| Požadavky na elektromagnetickou kompatibilitu | Podle normy EN IEC 60947-5-3 |
| Kategorie použití | |
| DC-13 | 24 V, 150 mA (Varování: Při indukční zátěži musejí být výstupy chráněny nulovou diodou) |
| Napájecí napětí elektromagnetu DC | |
| UIMP | 24 V DC -15% ... +10% zabezpečeno proti přepólování, regulováno, zbytkové zvlnění<5 %, PELV |
| Zatěžovatel elektromagnetu DZ | 100 % |
| Doba rizika podle normy EN 60947-5-3 | max. 260 ms |
| Riziková doba podle EN 60947-5-3, prodloužení pro každou další jednotku | max. 5 ms |
| Spínané zatížení | |
| Podle UL | 24 V DC, třída 2 (Alternativy viz návod k použití) |
| Třída ochrany | III |
| Odběr proudu | |
| IIMP | 400 mA |
| IUB | 40 mA |
| Doba trvání zkušebního impulzu | max. 1.0 ms (Platí pro zátěž C<= 30nF a R<= 20 kΩ) |
| Interval testovacích impulzů | min. 140 ms |
| Stupeň znečištění (externí, podle EN 60947-1) | 3 |
| Ovládací a indikační prvky | |
| Napájecí napětí | UB V |
| Provozní proud | 1 ... 50 mA |
| Napájení | |
| LED | 24 V |
| Odběr proudu | |
| LED | 10 mA |
| Signalizační výstup OD, OI, OL | |
| Druh výstupu | PNP, odolné proti zkratu |
| Výstupní napětí | 0.8xUB ... UB V DC |
| Spínací proud | 1 ... 50 mA |
| Bezpečnostní výstupy FO1A/FO1B | |
| Druh výstupu | 2× polovodičový výstup, PNP, odolný proti zkratu |
| Výstupní napětí | |
| LOW U(FO1A) / U(FO1B) | 0 ... 1 V DC |
| HIGH U(FO1A) / U(FO1B) | UB-1.5 ... UB V DC |
| Doba diskrepance | |
| Obou bezpečnostních výstupů | max. 10 ms Podle normy EN IEC 60947-5-3 |
| Doba do zapnutí | max. 400 ms |
| Zbytkový proud Ir | max. 0.25 mA |
| Spínací proud | |
| Na každém bezpečnostním výstupu FO1A/FO1B | 1 ... 150 mA |
Mechanické hodnoty a prostředí
| Anfahrgeschwindigkeit | max. 20 m/min |
| Typ připojení | 1× konektor M23, 19pól., RC18 |
| Vytahovací síla | 20 N |
| Prodleva do dosažení pohotovostního stavu | 8 s |
| Ovládací síla | 10 N |
| Montážní poloha | Libovolná |
| Frekvence spínání | max. 0.5 Hz |
| Teplota při skladování | -25 ... 70 °C |
| Mechanická životnost | 1 x 10⁶ |
| Volný chod | 5 mm |
| Přidržovací síla | 20 N |
| Odolnost proti nárazům a vibracím | Podle normy EN IEC 60947-5-3 |
| Třída ochrany | IP65 (V zapojeném a zajištěném stavu) |
| Okolní teplota | |
| Při UB = 24 V DC | -20 ... 55 °C |
| Materiál | |
| Kryt hlavy spínače | Zinkový tlakový odlitek |
| Pouzdro bezpečnostního spínače | Termoplast zesílený skelnými vlákny |
| Držící síla Fmax | 3900 N |
| Držící síla FZh | 3000 N (Fzh = Fmax/1,3 v závislosti na používaném aktuátoru) |
| Princip jištění | Princip klidového proudu |
Charakteristické hodnoty podle EN ISO 13849-1 a EN IEC 62061
| PL | Maximální SIL | PFHD | Kategorie | Doba provozu | |
|---|---|---|---|---|---|
| Monitorování jištění ochranného krytu | PL e | - | 4.1x10-9 | 4 | 20 y |
| PL | Maximální SIL | Kategorie | Doba provozu | |
|---|---|---|---|---|
| Ovládání jištění ochranného krytu | V závislosti na externím ovládání jištění ochranného krytu | 20 y | ||
Různé
| Poznámky ke schválení UL | Provoz pouze s napájením opatřeným atestem UL-Class 2 nebo rovnocenným, viz návod k použití |
| Další funkce | Vč. sady clonek, id. č. 120344 |
Příslušenství
Aktuátor
Lomený aktuátor pro bezpečnostní spínače CTP/CTA

122671
A-C-H-RL-LS-122671
A-C-H-RL-LS-122671
- Lomený aktuátor pro dveře se závěsy nalevo
- Dva bezpečnostní šrouby jsou součástí dodávky

122672
A-C-H-RR-LS-122672
A-C-H-RR-LS-122672
- Lomený aktuátor pro dveře se závěsy napravo
- Dva bezpečnostní šrouby jsou součástí dodávky

122675
A-C-H-RO-LS-122675
A-C-H-RO-LS-122675
- Lomený aktuátor pro dveře se závěsy nahoře
- Dva bezpečnostní šrouby jsou součástí dodávky

122676
A-C-H-RU-LS-122676
A-C-H-RU-LS-122676
- Lomený aktuátor pro dveře se závěsy dole
- Dva bezpečnostní šrouby jsou součástí dodávky
Kovová petlice
Petlice pro bezpečnostní spínač CTP, CTA

123653
RIEGEL CTP-AC-123653
RIEGEL CTP-AC-123653
- Ocelová petlice
- Pro dveře se závěsy napravo a nalevo
- V otevřené poloze možnost zamknutí visacími zámky
- Aktuátor je součástí dodávky

137354
RIEGEL CTP-AC-C2308-137354
RIEGEL CTP-AC-C2308-137354
- Ocelová petlice
- Pro dveře se závěsy napravo a nalevo
- V otevřené poloze možnost zamknutí visacími zámky
- Aktuátor je součástí dodávky
- Petlice bez dveřního závěsu, vhodná pro kyvné dveře
Montážní příslušenství
Účinná ochrana proti neoprávněné manipulaci pro upevnění bezpečnostních spínačů

161344
AM-C-SW4-V3-161344
AM-C-SW4-V3-161344
- Plastové vložky pro imbusové šrouby vel. 4
- Účinná ochrana proti neoprávněné manipulaci pro upevnění bezpečnostních spínačů
- Součástí dodávky jsou vložky pro 18 šroubů

161348
AM-C-SW5-V3-161348
AM-C-SW5-V3-161348
- Plastové vložky pro imbusové šrouby vel. 5
- Účinná ochrana proti neoprávněné manipulaci pro upevnění bezpečnostních spínačů
- Součástí dodávky jsou vložky pro 18 šroubů
Připojovací materiál
Připojovací kabel s konektorem M23 s provedením C1825, 1,5 m, úhlový
092906
C-M23F19-19XDIFPU01,5-MA-092906
C-M23F19-19XDIFPU01,5-MA-092906
- Konektor M23, 18pól. + PE
- Úhlový konektor
- Vývod kabelu C (doleva)
- Kabel z PUR
- Délka kabelu 1,5 m
- Kabel s volným koncem
- Jednotlivé žíly barevně kódované
092907
C-M23F19-19XDIFPU01,5-MA-092907
C-M23F19-19XDIFPU01,5-MA-092907
- Konektor M23, 18pól. + PE
- Úhlový konektor
- Vývod kabelu A (doprava)
- Kabel z PUR
- Délka kabelu 1,5 m
- Kabel s volným koncem
- Jednotlivé žíly barevně kódované
Připojovací kabel s konektorem M23 s provedením C1825, 10 m, úhlový
092901
C-M23F19-19XDIFPU10,0-MA-092901
C-M23F19-19XDIFPU10,0-MA-092901
- Konektor M23, 18pól. + PE
- Úhlový konektor
- Vývod kabelu C (doleva)
- Kabel z PUR
- Délka kabelu 10 m
- Kabel s volným koncem
- Jednotlivé žíly barevně kódované
092902
C-M23F19-19XDIFPU10,0-MA-092902
C-M23F19-19XDIFPU10,0-MA-092902
- Konektor M23, 18pól. + PE
- Úhlový konektor
- Vývod kabelu A (doprava)
- Kabel z PUR
- Délka kabelu 10 m
- Kabel s volným koncem
- Jednotlivé žíly barevně kódované
Připojovací kabel s konektorem M23 s provedením C1825, 15 m, úhlový
077020
C-M23F19-19XDIFPU15,0-MA-077020
C-M23F19-19XDIFPU15,0-MA-077020
- Konektor M23, 18pól. + PE
- Úhlový konektor
- Vývod kabelu C (doleva)
- Kabel z PUR
- Délka kabelu 15 m
- Kabel s volným koncem
- Jednotlivé žíly barevně kódované
085196
C-M23F19-19XDIFPU15,0-MA-085196
C-M23F19-19XDIFPU15,0-MA-085196
- Konektor M23, 18pól. + PE
- Úhlový konektor
- Vývod kabelu A (doprava)
- Kabel z PUR
- Délka kabelu 15 m
- Kabel s volným koncem
- Jednotlivé žíly barevně kódované
Připojovací kabel s konektorem M23 s provedením C1825, 20 m, úhlový
092910
C-M23F19-19XDIFPU20,0-MA-092910
C-M23F19-19XDIFPU20,0-MA-092910
- Konektor M23, 18pól. + PE
- Úhlový konektor
- Vývod kabelu C (doleva)
- Kabel z PUR
- Délka kabelu 20 m
- Kabel s volným koncem
- Jednotlivé žíly barevně kódované
092911
C-M23F19-19XDIFPU20,0-MA-092911
C-M23F19-19XDIFPU20,0-MA-092911
- Konektor M23, 18pól. + PE
- Úhlový konektor
- Vývod kabelu A (doprava)
- Kabel z PUR
- Délka kabelu 20 m
- Kabel s volným koncem
- Jednotlivé žíly barevně kódované
Připojovací kabel s konektorem M23 s provedením C1825, 25 m, úhlový
092912
C-M23F19-19XDIFPU25,0-MA-092912
C-M23F19-19XDIFPU25,0-MA-092912
- Konektor M23, 18pól. + PE
- Úhlový konektor
- Vývod kabelu C (doleva)
- Kabel z PUR
- Délka kabelu 25 m
- Kabel s volným koncem
- Jednotlivé žíly barevně kódované
092913
C-M23F19-19XDIFPU25,0-MA-092913
C-M23F19-19XDIFPU25,0-MA-092913
- Konektor M23, 18pól. + PE
- Úhlový konektor
- Vývod kabelu A (doprava)
- Kabel z PUR
- Délka kabelu 25 m
- Kabel s volným koncem
- Jednotlivé žíly barevně kódované
Připojovací kabel s konektorem M23 s provedením C1825, 3 m, úhlový
092908
C-M23F19-19XDIFPU03,0-MA-092908
C-M23F19-19XDIFPU03,0-MA-092908
- Konektor M23, 18pól. + PE
- Úhlový konektor
- Vývod kabelu C (doleva)
- Kabel z PUR
- Délka kabelu 3 m
- Kabel s volným koncem
- Jednotlivé žíly barevně kódované
092909
C-M23F19-19XDIFPU03,0-MA-092909
C-M23F19-19XDIFPU03,0-MA-092909
- Konektor M23, 18pól. + PE
- Úhlový konektor
- Vývod kabelu A (doprava)
- Kabel z PUR
- Délka kabelu 3 m
- Kabel s volným koncem
- Jednotlivé žíly barevně kódované
Připojovací kabel s konektorem M23 s provedením C1825, 6 m, úhlový
077018
C-M23F19-19XDIFPU06,0-MA-077018
C-M23F19-19XDIFPU06,0-MA-077018
- Konektor M23, 18pól. + PE
- Úhlový konektor
- Vývod kabelu C (doleva)
- Kabel z PUR
- Délka kabelu 6 m
- Kabel s volným koncem
- Jednotlivé žíly barevně kódované
085194
C-M23F19-19XDIFPU06,0-MA-085194
C-M23F19-19XDIFPU06,0-MA-085194
- Konektor M23, 18pól. + PE
- Úhlový konektor
- Vývod kabelu A (doprava)
- Kabel z PUR
- Délka kabelu 6 m
- Kabel s volným koncem
- Jednotlivé žíly barevně kódované
Připojovací kabel s konektorem M23 s provedením C1825, 8 m, úhlový
077019
C-M23F19-19XDIFPU08,0-MA-077019
C-M23F19-19XDIFPU08,0-MA-077019
- Konektor RC18, 18pól. + PE
- Úhlový konektor
- Vývod kabelu C (doleva)
- Kabel z PUR
- Délka kabelu 8 m
- Kabel s volným koncem
- Jednotlivé žíly barevně kódované
085195
C-M23F19-19XDIFPU08,0-MA-085195
C-M23F19-19XDIFPU08,0-MA-085195
- Konektor M23, 18pól. + PE
- Úhlový konektor
- Vývod kabelu A (doprava)
- Kabel z PUR
- Délka kabelu 8 m
- Kabel s volným koncem
- Jednotlivé žíly barevně kódované
Ke stažení
Jednotlivé dokumenty
Pokyny
Návod k použití Bezpečnostní spínač s kódovaným transpondérem CTP-AR Unicode/Multicode
Č. dok.
Verze
Jazyk
Velikost
Návod k použití Bezpečnostní spínač s kódovaným transpondérem CTP-AR Unicode/Multicode
Č. dok.
2123041
Verze
08-01/21
Jazyk
Velikost
4,9 MB
Operating instructions Transponder-Coded Safety Switch With Guard Locking CTP-AR Unicode/Multicode
Č. dok.
2123041
Verze
08-01/21
Jazyk
Velikost
4,7 MB
Mode d'emploi Interrupteur de sécurité à codage par transpondeur avec interverrouillage CTP-AR uni-/multicode
Č. dok.
2123041
Verze
08-01/21
Jazyk
Velikost
4,7 MB
Manual de instrucciones Interruptor de seguridad con codificación por transponder con bloqueo CTP-AR Unicode/Multicode
Č. dok.
2123041
Verze
08-01/21
Jazyk
Velikost
4,7 MB
Betriebsanleitung Transpondercodierter Sicherheitsschalter mit Zuhaltung CTP-AR Uni-/Multicode
Č. dok.
2123041
Verze
08-01/21
Jazyk
Velikost
4,7 MB
Istruzioni di impiego Finecorsa di sicurezza con codifica a transponder con meccanismo di ritenuta CTP-AR Uni-/Multicode
Č. dok.
2123041
Verze
08-01/21
Jazyk
Velikost
4,7 MB
操作指示書トランスポンダー型コード化安全スイッチ ガードロック内蔵CTP-AR ユニコード/マルチコード
Č. dok.
2123041
Verze
08-01/21
Jazyk
Velikost
4,9 MB
사용 설명서 트랜스폰더 코딩형 안전 스위치 가드 잠금 기능 있음 CTP-AR 유니코드/멀티코드
Č. dok.
2123041
Verze
08-01/21
Jazyk
Velikost
5,1 MB
Instrukcja obsługi Wyłącznik bezpieczeństwa kodowany transponderowo z blokadą CTP-AR Unicode/Multicode
Č. dok.
2123041
Verze
08-01/21
Jazyk
Velikost
4,9 MB
Prohlášení o shodě
EU-Konformitätserklärung
Č. dok.
Verze
Jazyk
Velikost
EU-Konformitätserklärung
Č. dok.
EDC2123042
Verze
Jazyk
Velikost
0,2 MB
UKCA-Konformitätserklärung
Č. dok.
Verze
Jazyk
Velikost
UKCA-Konformitätserklärung
Č. dok.
EDC20001501
Verze
Jazyk
Velikost
0,1 MB
Ostatní dokumenty
Prodejní doklady
Schválení a certifikáty
FCC
Č. dok.
Verze
Jazyk
Velikost
FCC
Č. dok.
Verze
Jazyk
Velikost
0,1 MB
IC
Č. dok.
Verze
Jazyk
Velikost
IC
Č. dok.
Verze
Jazyk
Velikost
1,8 MB
c UL us
Č. dok.
Verze
Jazyk
Velikost
c UL us
Č. dok.
Verze
Jazyk
Velikost
0,3 MB
CAD-Data
Objednací údaje
| Obj. č. | 137341 |
| Název výrobku | CTP-L1-AR-U-HA-AZE-SH-137341 |
| Hmotnost brutto | 0,66kg |
| Číslo celního tarifu | 85371098 |
| ECLASS | 27-27-24-05 Safety-related transponder switch with guardlocking |























