Submodule MSM-1-P... (illuminated emergency stop, with 2 adhesive labels)
- Function expansion for modules MGB2 and MCM
- Connection type: P
- 2 cut-outs for slide-in labels
- incl. slide-in labels

Description



Wiring diagram for connection to MGB2 Classic
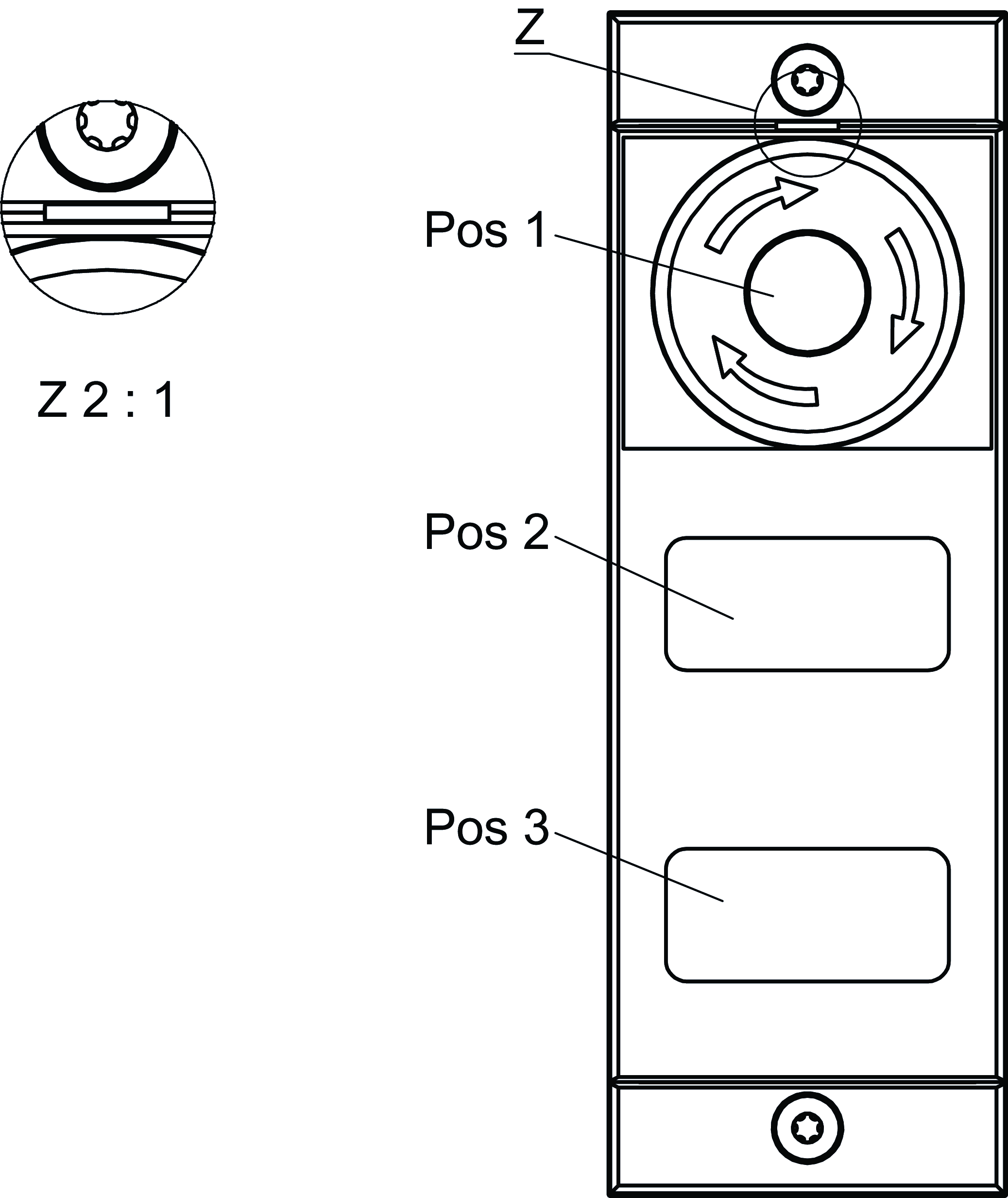
Dimensional drawings

| Pos 1 | Emergency stop according to ISO 13850 |
| Pos 2 | Slide-in label |
| Pos 3 | Slide-in label |
| Z | marks orientation of item 1 |
Dimensional drawings

Connection examples

Technical data
Operating and display elements
| Item | Color | Extras | Version | Switching element | Note slide-in label | Slide-in label | Number | Designation1 | LED |
|---|---|---|---|---|---|---|---|---|---|
| 1 | Illuminated emergency stop | 2 PD | |||||||
| 2 | 12.5x27 mm | Position for slide-in label | |||||||
| 3 | 12.5x27 mm | Position for slide-in label |
Electrical connection values
| Current consumption | max. 12 mA |
| Controls and indicators | |
| Breaking capacity | max. 0.25 W |
| Switching voltage | 24 V |
| Switching current | 5 ... 10 mA |
| LED power supply | 24 V DC |
| Illuminated emergency stop | |
| Breaking capacity | max. 0.25 W |
| Switching voltage | 5 ... 24 V |
| Switching current | 1 ... 100 mA |
| LED power supply | 24 V DC |
Mechanical values and environment
| Installation orientation | any |
| Storage temperature | -25 ... 70 °C |
| Response time | See operating instructions for bus module MBM-... or interlocking/locking module MGB2-I.-BR-... / MGB2-L.-BR-... |
| Shock and vibration resistance | Acc. to EN IEC 60947-5-3 |
| Degree of protection | IP65 (IP20) (in the installed state) |
| Ambient temperature | |
| at UB = 24 V DC | -25 ... 55 °C |
| Material | Fiber glass reinforced plastic |
Characteristic values according to EN ISO 13849-1 and EN IEC 62061
| B10D | Mission time | |
|---|---|---|
| Emergency stop | 0.13x106 | 20 y |
Miscellaneous
| Submodulbreite | 1 | Slide-in label | |||||
| |||||||
| Software ID (SW ID) | 164629 | ||||||
Accessories
Downloads
Declarations of conformity
EU-Konformitätserklärung
Doc. no.
Version
Language
Size
EU-Konformitätserklärung
Doc. no.
EDC2518509
Version
Language
Size
0,2 MB
UKCA-Konformitätserklärung
Doc. no.
Version
Language
Size
UKCA-Konformitätserklärung
Doc. no.
EDC20001508
Version
Language
Size
0,2 MB
Ordering data
| Ordernumber | 164629 |
| Item designation | MSM-1-P-CA-BQQ-F7-164629 |
| Gross weight | 0,1kg |
| Customs tariff number | 85371098 |
| ECLASS | 27-24-26-05 Feldbus, Dez. Peripherie - Funktions-/Technologie-Modul |


