Submodule MSM-1-P... (1 illuminated pushbutton, 1 key-operated rotary switch, form V, slide-in label)
- Function expansion for modules MGB2 and MCM
- Connection type: P
- 1 illuminated pushbuttons
- 1 cut-out for slide-in label
- 1 key-operated rotary switch SSG10, 1 x 90°, form V
- incl. key SSG10
- incl. lens set
- incl. 1 x slide-in label

Description



Wiring diagram for connection to MGB2 Classic
Dimensional drawings

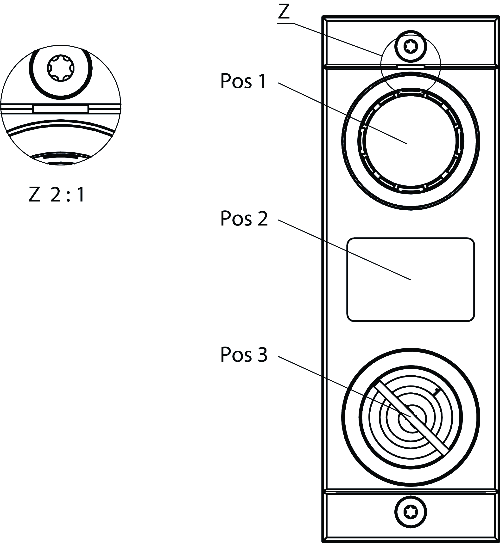
| Pos 1 | Illuminated pushbutton |
| Pos 2 | Position for slide-in label |
| Pos 3 | Key-operated rotary switch 1 x 90°, form V |
| Z | marks orientation of item 1 |
Dimensional drawings

Connection examples

Technical data
Operating and display elements
| Item | Color | Extras | Version | Switching element | Slide-in label | Note slide-in label | Number | Designation1 | LED |
|---|---|---|---|---|---|---|---|---|---|
| 1 | Illuminated pushbutton | 1NO | |||||||
| 2 | 17.5x27 mm | Position for slide-in label | |||||||
| 3 | SSG10 | Key-operated rotary switch (test pulse monitored) | 2NO |
Electrical connection values
| Current consumption | max. 14 mA |
| Controls and indicators | |
| Breaking capacity | max. 0.25 W |
| Switching voltage | 24 V |
| Switching current | 5 ... 10 mA |
| LED power supply | 24 V DC |
Mechanical values and environment
| Installation orientation | any |
| Storage temperature | -25 ... 70 °C |
| Shock and vibration resistance | Acc. to EN IEC 60947-5-3 |
| Degree of protection | IP65 (IP20) (in the installed state) |
| Ambient temperature | |
| at UB = 24 V DC | -25 ... 55 °C |
| Material | Fiber glass reinforced plastic, die-cast zinc, nickel plated |
Characteristic values according to EN ISO 13849-1 and EN IEC 62061
| B10D | Mission time | |
|---|---|---|
| Safe key-operated rotary switch | 0.06x106 | 20 y |
Miscellaneous
| Submodulbreite | 1 | Slide-in label | |||||
| |||||||
| Software ID (SW ID) | 163855 | ||||||
| Additional feature | |||||||
| incl. lens set | |||||||
| incl. key SSG10 | |||||||
Accessories
Downloads
Declarations of conformity
EU-Konformitätserklärung
Doc. no.
Version
Language
Size
EU-Konformitätserklärung
Doc. no.
EDC2518509
Version
Language
Size
0,2 MB
UKCA-Konformitätserklärung
Doc. no.
Version
Language
Size
UKCA-Konformitätserklärung
Doc. no.
EDC20001508
Version
Language
Size
0,2 MB
Ordering data
| Ordernumber | 163855 |
| Item designation | MSM-1-P-CA-PQD-E9-163855 |
| Gross weight | 0,145kg |
| Customs tariff number | 85371098 |
| ECLASS | 27-24-26-05 Feldbus, Dez. Peripherie - Funktions-/Technologie-Modul |










