Sous-module MSM-1-P... (1 sélecteur 90° forme V lumineux, 2 boutons-poussoirs lumineux)
- Fonctions supplémentaires pour modules MGB2 et MCM
- Type de raccordement : P
- 1 sélecteur 1 x 90°, forme V, lumineux
- 2 boutons-poussoirs, lumineux
- avec kit de cabochons

Description



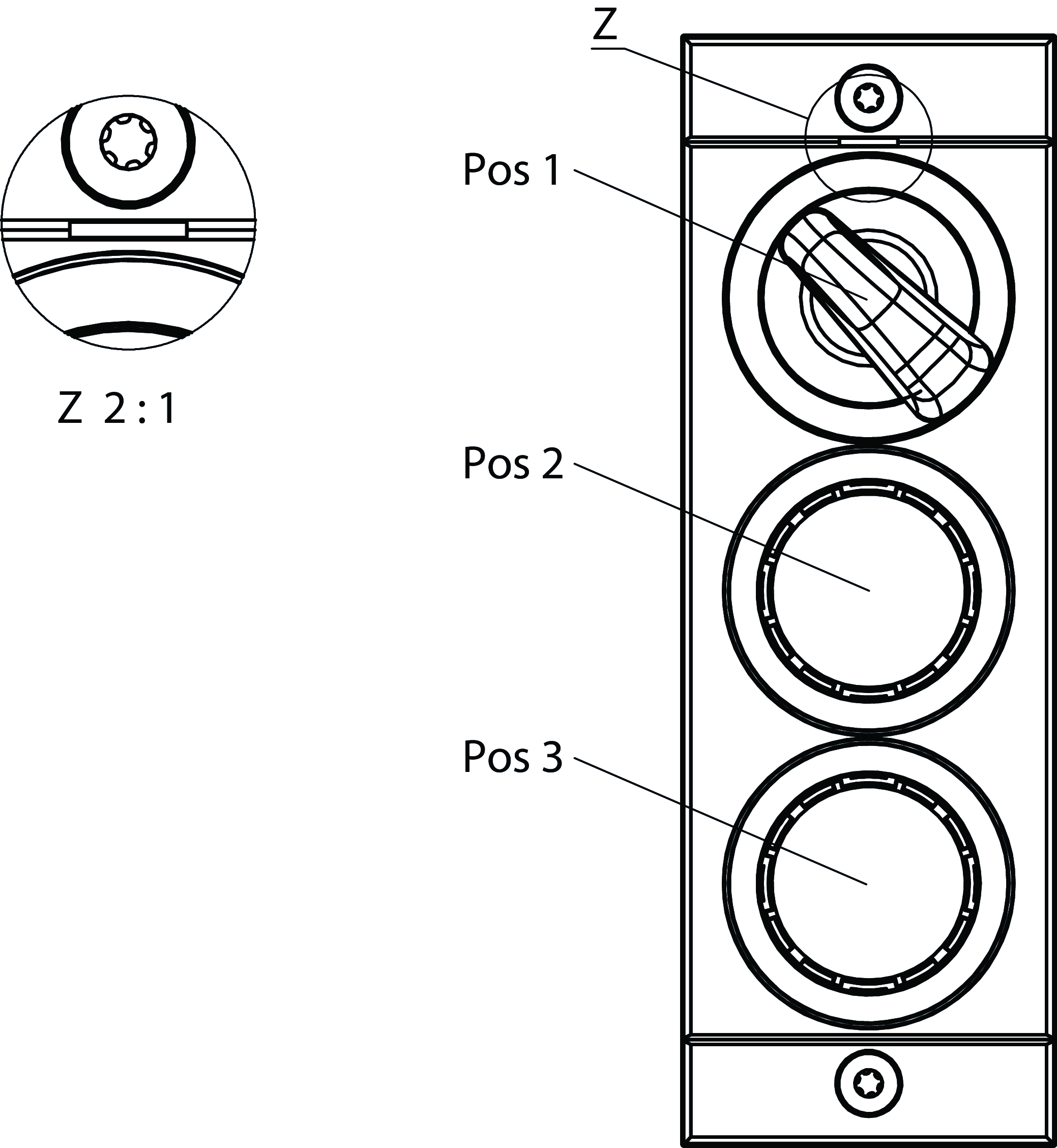
Dessins cotés

| Pos 1 | 1 sélecteur 1 x 90°, forme V, lumineux |
| Pos 2 | Bouton-poussoir lumineux |
| Pos 3 | Bouton-poussoir lumineux |
| Z | Marque l’orientation du repère 1 |
Dessins cotés

Exemples de connexion

Caractéristiques techniques
Eléments de commande et d'affichage
| Repère | Couleur | Extras | Version | Étiquette amovible | Élément de commutation | Remarque étiquette amovible | Nombre | Désignation1 | LED |
|---|---|---|---|---|---|---|---|---|---|
| 1 | Sélecteur lumineux | 1F | |||||||
| 2 | Bouton lumineux | 1F | |||||||
| 3 | Bouton lumineux | 1F |
Puissance électrique connectée
| Consommation | max. 30 mA |
| Éléments de commande et de signalisation | |
| Pouvoir de coupure | max. 0.25 W |
| Tension de commutation | 24 V |
| Courant de commutation | 5 ... 10 mA |
| Alimentation LED | 24 V DC |
Valeurs mécaniques et environnement
| Position de montage | Au choix |
| Température de stockage | -25 ... 70 °C |
| Résistance aux chocs et aux vibrations | selon EN IEC 60947-5-3 |
| Indice de protection | IP65 (IP20) (à l’état monté) |
| Température ambiante | |
| avec UB = 24 V DC | -25 ... 55 °C |
| Matériau | Plastique renforcé avec des fibres de verre |
Divers
| Submodulbreite | 1 |
| ID logiciel (SW-ID) | 137752 |
| Caractéristique supplémentaire | avec kit de cabochons réf. article 120344 |
Accessoires
Téléchargements
Déclarations de conformité
EU-Konformitätserklärung
N° doc.
Version
Langue
Taille
EU-Konformitätserklärung
N° doc.
EDC2518509
Version
Langue
Taille
0,2 MB
UKCA-Konformitätserklärung
N° doc.
Version
Langue
Taille
UKCA-Konformitätserklärung
N° doc.
EDC20001508
Version
Langue
Taille
0,2 MB
Données de commande
| N° de commande | 137752 |
| Désignation article | MSM-1-P-CA-KPP-C3-137752 |
| Poids brut | 0,155kg |
| Code douanier | 85371098 |
| ECLASS | 27-24-26-05 Field bus, decentralized peripheral - function-/technology module |











