안전 스위치 NM..VZ용 삽입 깔대기

Description
삽입 깔대기를 사용하는 경우, 깔대기의 입구가 크기 때문에 위치가 정확하게 조절되지 않는 액추에이터도 구동 헤드에 확실하게 삽입하므로 안전 스위치를 기계적 영향으로부터 보호합니다.


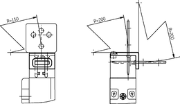
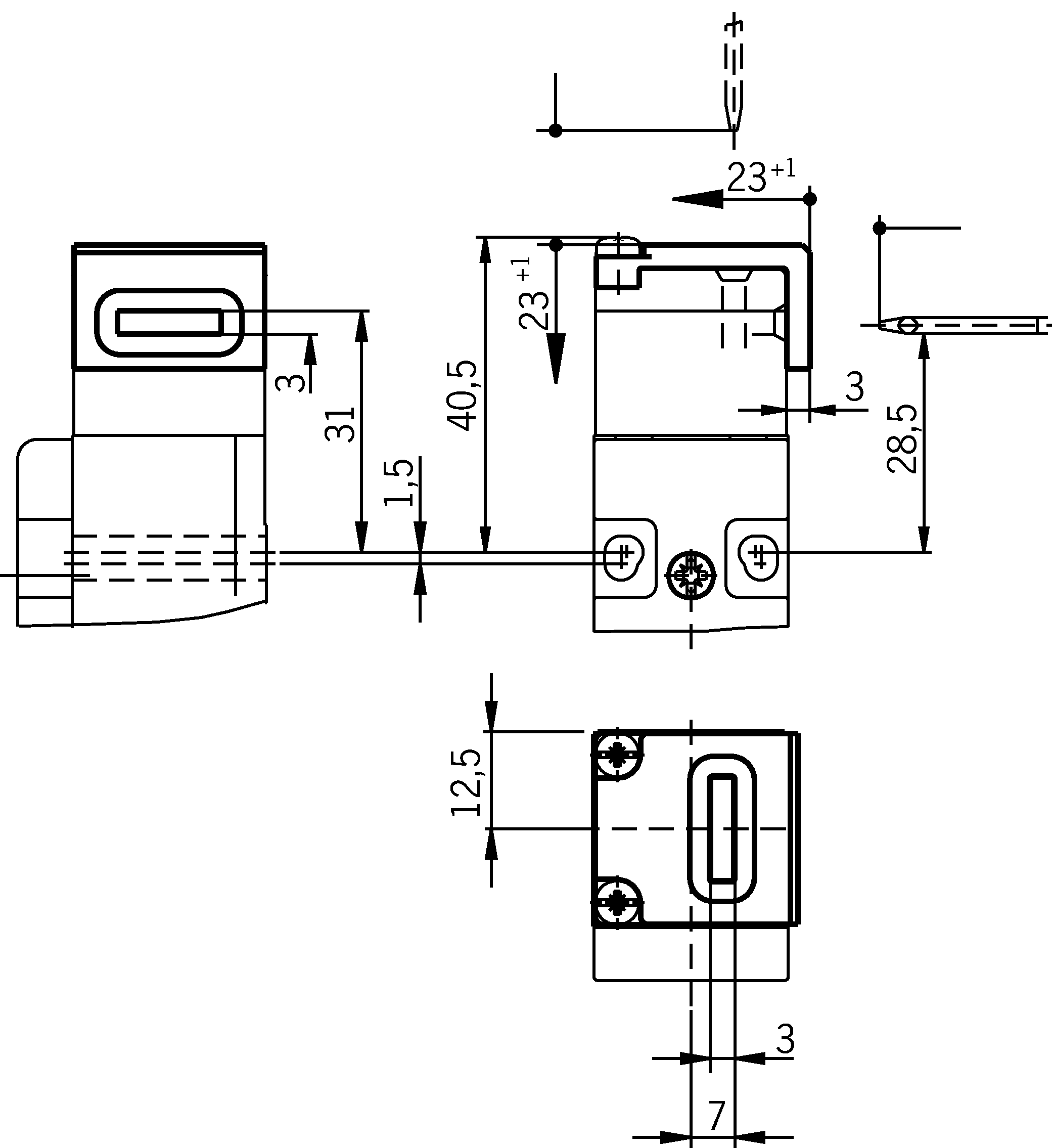
치수 도면

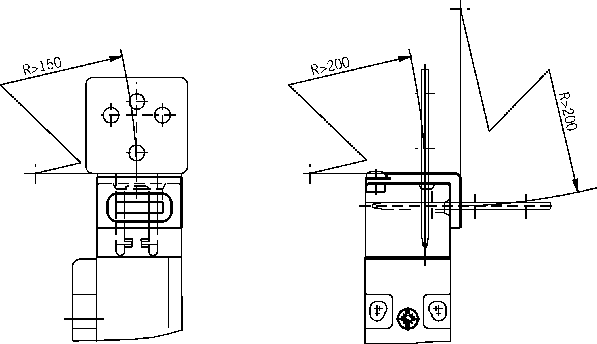
치수 도면

Technical data
기계적 가치 및 환경
| 보관 온도 | -25 ... 70 °C |
| 재질 | 스테인리스 스틸 |
Accessories
액추에이터
안전 스위치 NM.VZ용 액추에이터

074076
BETAETIGER-M-G
BETAETIGER-M-G
- 스테인리스 스틸제 액추에이터
- 액추에이터 하나당 두 개의 스테인리스 스틸제 안전 스크루

074077
BETAETIGER-M-W
BETAETIGER-M-W
- 스테인리스 스틸제 액추에이터
- 액추에이터 하나당 두 개의 스테인리스 스틸제 안전 스크루

074078
BETAETIGER-M-GT
BETAETIGER-M-GT
- 스테인리스 스틸제 액추에이터
- 액추에이터 하나당 두 개의 스테인리스 스틸제 안전 스크루
- 고무제 부싱 장착 액추에이터

074079
BETAETIGER-M-GQ
BETAETIGER-M-GQ
- 스테인리스 스틸제 액추에이터
- 액추에이터 하나당 두 개의 스테인리스 스틸제 안전 스크루
- 고무제 부싱 장착 액추에이터

074080
BETAETIGER-M-WT
BETAETIGER-M-WT
- 스테인리스 스틸제 액추에이터
- 액추에이터 하나당 두 개의 스테인리스 스틸제 안전 스크루
- 고무제 부싱 장착 액추에이터

074128
BETAETIGER-M-GS
BETAETIGER-M-GS
- 스테인리스 스틸제 액추에이터
- 액추에이터 하나당 두 개의 스테인리스 스틸제 안전 스크루
- 컴팩트한 디자인

074129
BETAETIGER-M-WS
BETAETIGER-M-WS
- 스테인리스 스틸제 액추에이터
- 액추에이터 하나당 두 개의 스테인리스 스틸제 안전 스크루
- 컴팩트한 디자인

074130
BETAETIGER-M-GTS
BETAETIGER-M-GTS
- 스테인리스 스틸제 액추에이터
- 액추에이터 하나당 두 개의 스테인리스 스틸제 안전 스크루
- 고무제 부싱 장착 액추에이터
- 컴팩트한 디자인
Downloads
영업 문서
Safety Switches with Plastic Housing
Doc. no.
Version
Language
Size
Safety Switches with Plastic Housing
Doc. no.
096956
Version
11-03/18
Language
Size
6,5 MB
Interrupteurs de sécurité avec boîtier plastique
Doc. no.
100677
Version
11-03/18
Language
Size
6,6 MB
Interruptores de seguridad con carcasa plástica
Doc. no.
104855
Version
11-03/18
Language
Size
6,6 MB
Sicherheitsschalter mit Kunststoffgehäuse
Doc. no.
096955
Version
11-03/18
Language
Size
6,6 MB
塑料壳体 的安全开关
Doc. no.
116243
Version
11-03/18
Language
Size
6,1 MB
Bezpečnostní spínače s plastovým pouzdrem
Doc. no.
121649
Version
11-03/18
Language
Size
6,5 MB
Ordering data
| Ordernumber | 083565 |
| Item designation | EINFUEHRTRICHTER-M |
| Gross weight | 0,022kg |
| Customs tariff number | 85389099990 |