서브 모듈 MSM-1-P... (발광 비상 스톱, 기호가 있는 노란색 발광 푸시버튼 1개, 슬라이드인 라벨)
- MGB2 및 MCM 모듈을 위한 기능 확장
- 연결 타입: P
- ISO 13850에 따른 발광 비상 스톱 1개
- 기호가 표시된 노란색 발광 푸시버튼 1개
- 슬라이드인 라벨을 위한 1개의 컷아웃
- 슬라이드인 라벨 1개 포함됨

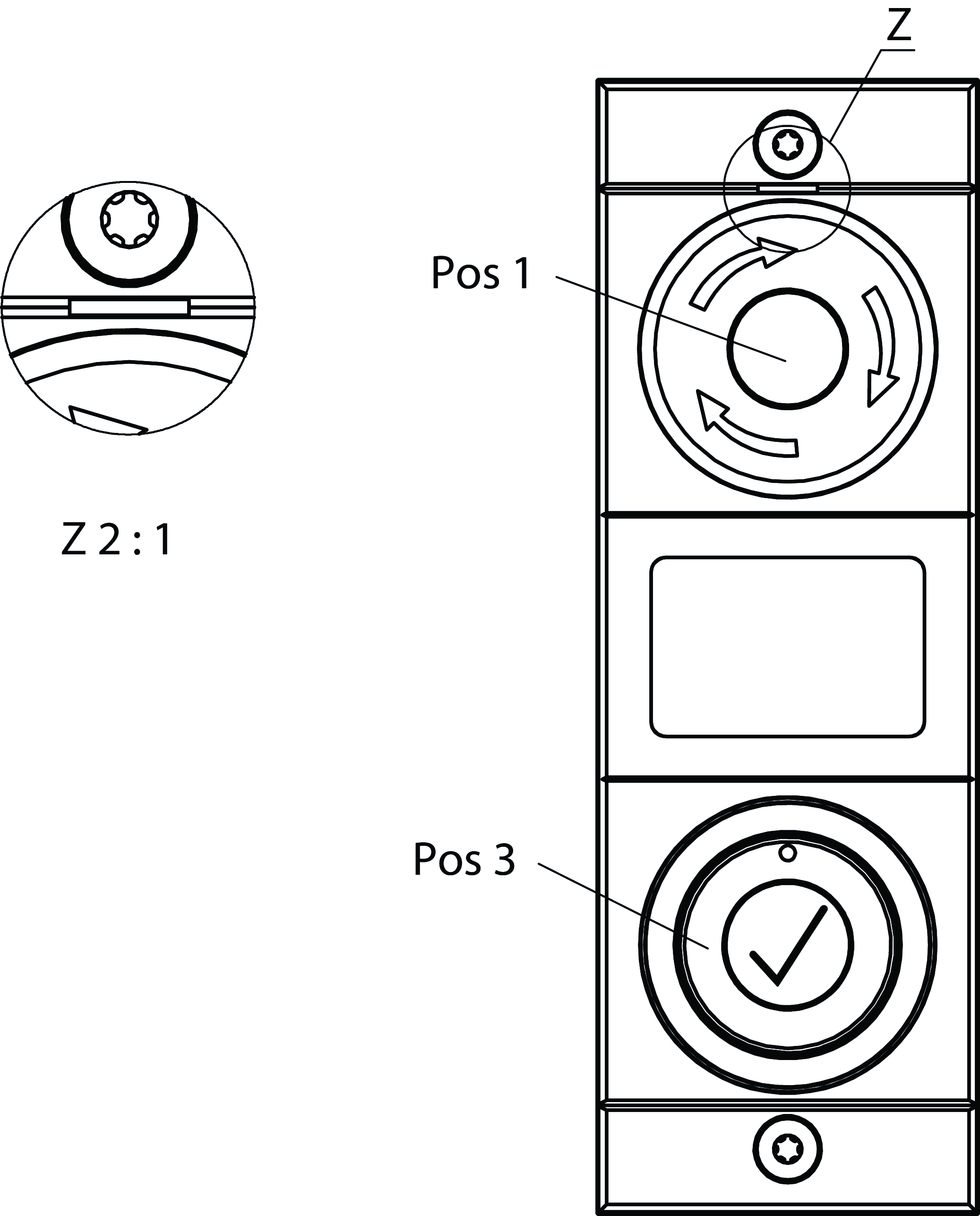
Description



치수 도면

| Pos 1 | ISO 13850에 따른 비상 스톱, 발광형 |
| Pos 3 | 발광 푸시버튼 |
| Z | 품목 1의 표지 방향 |
치수 도면

연결 예시

Technical data
승인

작동 및 디스플레이 요소
| 위치 | 색 | 기타 | 버전 | 슬라이드인 라벨 | 스위칭 부재 | 비고 슬라이드인 라벨 | 번호 | Designation1 | LED |
|---|---|---|---|---|---|---|---|---|---|
| 1 | 발광 비상 스톱 | 2 PD | |||||||
| 2 | 17.5x27mm | 슬라이드인 라벨용 위치 | 1 | ||||||
| 3 | 인쇄형 | 발광 푸시버튼 | NO 1개 |
전기 연결 값
| 전류 소비 | max. 22 mA |
| 제어장치 및 인디케이터 | |
| 차단 용량 | max. 0.25 W |
| 스위칭 전압 | 24 V |
| 스위칭 전류 | 5 ... 10 mA |
| LED 전원장치 | 24 V DC |
| 발광 비상 스톱 | |
| 차단 용량 | max. 0.25 W |
| 스위칭 전압 | 5 ... 24 V |
| 스위칭 전류 | 1 ... 100 mA |
| LED 전원장치 | 24 V DC |
기계적 가치 및 환경
| 설치 방향 | 임의 |
| 보관 온도 | -25 ... 70 °C |
| 응답 시간 | 버스 모듈 MBM-... 또는 연동장치/잠금장치 모듈 MGB2-I.-BR-... / / MGB2-L.-BR-.../ MGB2-L.-BR-... 에 관한 작동 지침 참조 |
| 내충격성 및 내진동성 | EN IEC 60947-5-3에 의거 |
| 보호 등급 | IP65(IP20) (설치된 상태에서) |
| 주변 온도 | |
| UB = 24V DC에서 | -25 ... 55 °C |
| 재질 | 유리섬유 강화 플라스틱 |
EN ISO 13849-1 및 EN IEC 62061에 따른 특성 값
| B10D | 임무 시간 | |
|---|---|---|
| 비상 스톱 | 0.13x106 | 20 y |
기타
| Submodulbreite | 1 | 슬라이드인 라벨 | |||||
| |||||||
| 소프트웨어 ID(SW-ID) | 9000053 | ||||||
Accessories
Downloads
Single Documents
적합성 선언
EU-Konformitätserklärung
Doc. no.
Version
Language
Size
EU-Konformitätserklärung
Doc. no.
EDC2518509
Version
Language
Size
0,2 MB
UKCA-Konformitätserklärung
Doc. no.
Version
Language
Size
UKCA-Konformitätserklärung
Doc. no.
EDC20001508
Version
Language
Size
0,2 MB
Other Documents
Ordering data
| Ordernumber | 171759 |
| Item designation | MSM-1-P-CA-B0Q0P0-L6-171759 |
| Gross weight | 0,1kg |
| Customs tariff number | 85371098 |
| ECLASS | 27-24-26-05 Field bus, decentralized peripheral - function-/technology module |







