Sicherheitsschalter TP, Leitungseinführung M20 x 1,5, ohne Kontakte für die Türstellung
- 3 x Leitungseinführung M20 x 1,5
- Ohne Kontakte für die Türstellung
- Hilfsentriegelung
- Ruhestromprinzip

Beschreibung
Anfahrrichtung
Horizontal und vertikal
Umstellbar in 90°-Schritten
Vergrößerter Nachlauf bei Anfahrrichtung horizontal
Falls ein vergrößertes Spiel bei geschlossener Tür benötigt wird, ist ein Betätiger mit Nachlauf erhältlich. Die Tür kann sich mit diesem Betätiger im geschlossenen Zustand geringfügig in Betätigungsrichtung bewegen. Dies ist z. B. dann wichtig, wenn Schutztüren als Anschlag einen Gummipuffer besitzen. Durch einen Betätiger mit Nachlauf kann der permanente Druck des zusammengedrückten Gummipuffers reduziert werden. Dadurch werden sowohl der Schalterkopf als auch die Türmechanik entlastet.
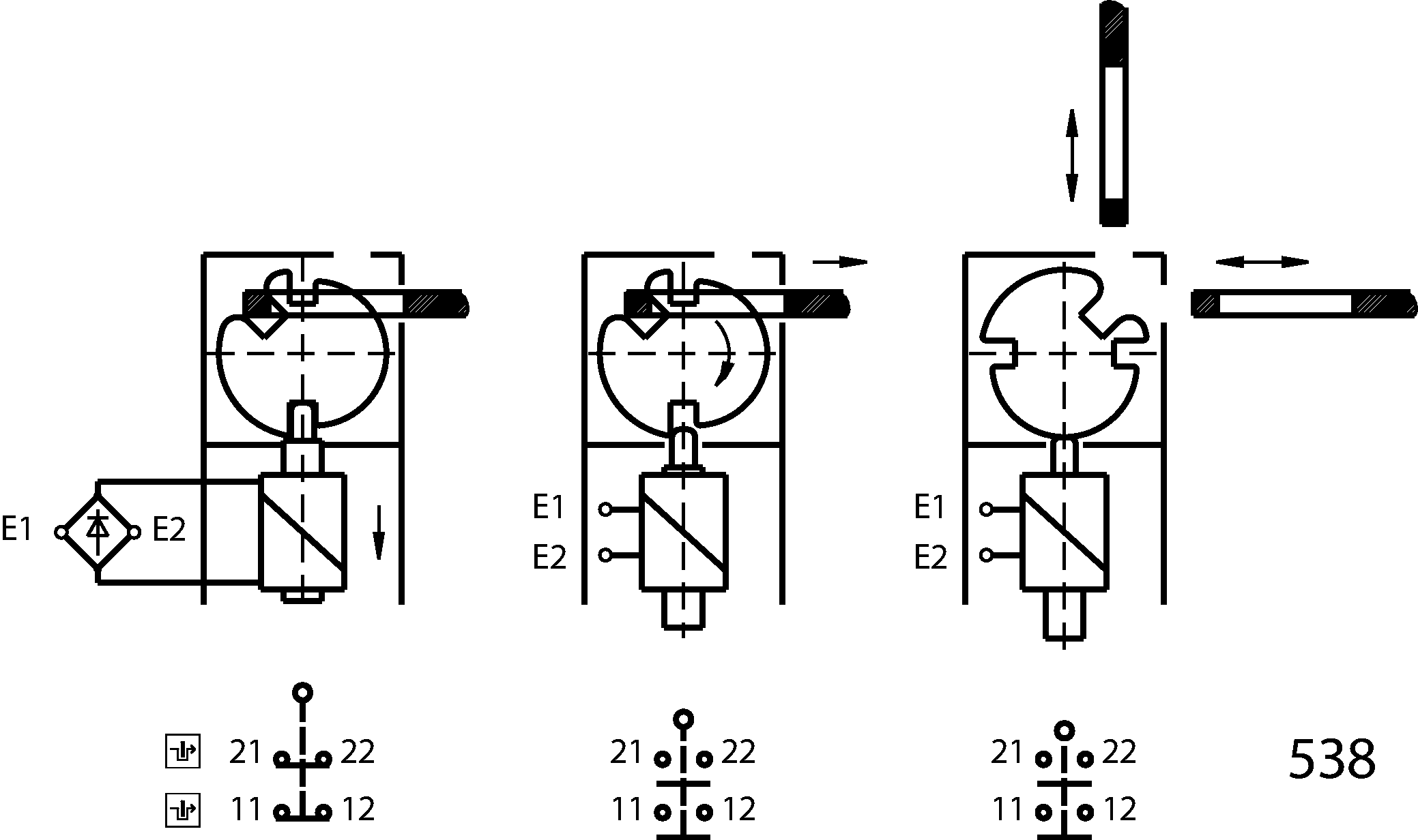
Zuhaltungsprinzip
Ruhestrom (Power to unlock): Bei einer Schutzeinrichtung mit Zuhaltung nach dem Ruhestromprinzip wird die Schutzeinrichtung solange durch eine Federkraft zugehalten, bis der Zuhaltemagnet mit Strom versorgt wird. Die Entsperrung erfolgt mittels Magnetkraft. Man spricht auch von mechanischer Zuhaltung.
Schaltelement
538 | Schleichschaltglied |
Kontakte für Zuhaltung: 2 Zwangsöffner |
Hilfsentriegelung
Die Hilfsentriegelung an der Frontseite ermöglicht den Zugang zur Maschine im Falle einer Fehlfunktion, z. B. eines Spannungsausfalls. Das Entsperren erfolgt dabei mit einem Werkzeug oder einem Schlüssel. Die Hilfsentriegelung muss gegen Missbrauch gesichert sein (Plombe, Verlackung).
Erforderliches Zubehör
Betätiger ist nicht im Lieferumfang enthalten.
Funktionszeichnungen

Maßzeichnungen

| 1 | Hilfsentriegelung |
| 2 | Sicherungsschraube |
Anschlussbeispiele

Technische Daten
Zulassungen



Elektrische Anschlusswerte
| Absicherung | max. 4 A gG |
| Anschlussleistung | 11 W |
| Anschlussquerschnitt | 0.34 ... 1.5 mm² |
| Bemessungsisolationsspannung Ui | 250 V |
| Bemessungsstoßspannung Uimp | 2.5 kV |
| Gebrauchskategorie | |
| AC-15 | 4A 230V |
| DC-13 | 4A 24V |
| Magnetbetriebsspannung | |
| AC | 230 V -15% ... +10% |
| Magnet-Einschaltdauer ED | 100 % |
| Schaltspannung | |
| min. bei 10mA | 12 V |
| Schaltstrom | |
| min. bei 24V | 1 mA |
| thermischer Bemessungsstrom Ith | 4 A |
Mechanische Werte und Umgebung
| Anfahrgeschwindigkeit | max. 20 m/min |
| Anschlussart | |
| 3 x | M20 x 1,5 |
| Anzahl Zwangsöffner Zuhaltungsüberwachung | 2 |
| Auszugskraft | 20 N |
| Betätigungshäufigkeit | max. 1200 1/h |
| Betätigungskraft | 10 N |
| Einbaulage | beliebig |
| Lagertemperatur | -25 ... 70 °C |
| Mechanische Lebensdauer | 1 x 10⁶ |
| Rückhaltekraft | 10 N |
| Schaltprinzip | Schleichschaltglied |
| Schutzart | IP67 |
| Umgebungstemperatur | -20 ... 55 °C |
| Werkstoff | |
| Kontakt | Silberlegierung, hauchvergoldet |
| Gehäuse | Glasfaserverstärkter Thermoplast |
| Zuhaltekraft Fmax | 1300 N |
| Zuhaltekraft FZh | 1000 N |
| Zuhaltungsprinzip | Ruhestromprinzip |
Kennwerte nach EN ISO 13849-1 / EN IEC 62061
| B10D | Gebrauchsdauer | |
|---|---|---|
| Überwachen der Zuhaltung | 3x106 | 20 y |
| Wichtig! Werte gültig bei DC-13 100 mA/24V | ||
| PL | maximaler SIL | Kategorie | Gebrauchsdauer | |
|---|---|---|---|---|
| Ansteuern der Zuhaltung | Abhängig von der externen Ansteuerung der Zuhaltung | 20 y | ||
In Kombination mit Betätiger BETAETIGER-P-GNT
| Nachlauf horizontal | 7 mm |
In Kombination mit Betätiger BETAETIGER-P-GT
| Nachlauf horizontal | 2 mm |
| Nachlauf vertikal | 1.5 mm |
Zubehör
AE-B-A1-02,0-096230
- Verwendbar als Fluchtentriegelung oder Notentsperrung
- nicht selbstrückstellend
- Mantellänge 2 m (Seillänge 6 m)
AE-B-A1-02,0-F-097747
- Verwendbar als Fluchtentriegelung oder Notentsperrung
- selbstrückstellend
- Mantellänge 2 m (Seillänge 6 m)
AE-B-A1-03,0-098313
- Verwendbar als Fluchtentriegelung oder Notentsperrung
- nicht selbstrückstellend
- Mantellänge 3 m (Seillänge 6 m)
AE-B-A1-04,0-098314
- Verwendbar als Fluchtentriegelung oder Notentsperrung
- nicht selbstrückstellend
- Mantellänge 4 m (Seillänge 6 m)
AE-B-A1-03,0-F-111233
- Verwendbar als Fluchtentriegelung oder Notentsperrung
- selbstrückstellend
- Mantellänge 3 m (Seillänge 6 m)
AE-B-A1-06,0-125582
- Verwendbar als Fluchtentriegelung oder Notentsperrung
- nicht selbstrückstellend
- Seillänge 6 m (ohne Mantel)
AE-B-A1-06,0-F-124770
- Verwendbar als Fluchtentriegelung oder Notentsperrung
- selbstrückstellend
- Seillänge 6 m (ohne Mantel)

AE-K-A1-DULK1-84177
- Schloss verschiedenschließend
- Schlüssel in Stellung "entriegelt", "verriegelt" abziehbar

AE-K-A1-IULK1-86236
- Schloss gleichschließend
- Schlüssel in Stellung "entriegelt", "verriegelt" abziehbar

AE-K-A1-IUK2-109212
- Schloss gleichschließend
- Schlüssel nur in Stellung "entriegelt" abziehbar

AE-K-A1-ILK1-121917
- Schloss gleichschließend
- Schlüssel in Stellung "verriegelt" abziehbar
RIEGEL 0 NP/TP OHNE RASTUNG
- Riegel für Sicherheitsschalter NP... und TP...A
- Riegel aus Stahl
- Für links oder rechts angeschlagene Türen
- Geeignet für einen Türspalt von ca. 6 mm

RIEGEL 1 NP/TP 1X RASTUNG ZU
- Riegel für Sicherheitsschalter NP...AS,TP...A und GP
- Riegel aus Stahl
- Für links oder rechts angeschlagene Türen
- Geeignet für einen Türspalt von ca. 15 mm
Downloads
Einzeldokumente
EU declaration of conformity
Déclaration UE de conformité
Declaración de conformidad UE
Dichiarazione UE di conformità
EU declaration of conformity
Déclaration UE de conformité
Declaración de conformidad UE
Dichiarazione UE di conformità
Sonstige Dokumente
CAD-Daten
Bestelldaten
| Bestellnummer | 084320 |
| Artikelbezeichnung | TP1-538A230M |
| Bruttogewicht | 0,422kg |
| Zolltarifnummer | 85365019000 |
| ECLASS | 27-27-26-03 Sicherheitsschalter mit Zuhaltung |





























